GB/T 10395.3-2019 農業機械 安全 第3部分:固體肥料撒施機
- 發表時間:2023-01-27
- 來源:共立消防
- 人氣:
1 范圍
GB/T 10395的本部分與ISO 4254-1一起使用,本部分規定了應用在農業僅有一個操作者的懸掛式、半懸掛式、牽引式和自走式固體肥料撒施機的安全要求及其符合性判定方法。
本部分適用于全幅寬固體肥料撒施機、固體肥料撒播機、帶有振蕩管的固體肥料撒施機和行間固體肥料撒施機,以及由輔助發動機驅動的固體肥料撒施機,本部分還規定了制造廠應提供的安全操作(包括遺留風險)信息的類型。
本部分涉及的重大危險(在附錄A中列出)、危險狀態和危險事件與制造廠可預見特定條件下使用固體肥料撒施機相關(見第4章)。
本部分不適用于:
——工作區域照明不足;
——駕駛員/操作者位置的能見度不足;
——座位不足;
——行走功能(驅動,制動等);
——翻滾;
——肥料裝載機;
——附助發動機;
——除防護裝置強度要求外,也不適用于與動力傳動運動部件的相關危險。
本部分既不適用于專業服務機構進行的維護或維修,也不適用于環境危害(噪聲除外)。本部分也不適用于:
——播種施肥聯合作業機;
——顆粒農藥撒布機;
——非專業人員操控機器;
——背負式撒肥機。
本部分也不適用于在本文件公布之日前生產的固體肥料撒施機。
本部分的安全技術要求不同于ISO4254-1時,應優先使用本部分。
2 規范性引用文件
下列文件對于本文件的應用是必不可少的。凡是注日期的引用文件,僅注日期的版本適用于本文件。凡是不注日期的引用文件,其最新版本(包括所有的修改單)適用于本文件。
GB/T 15706-2012 機械安全 設計通則 風險評估與風險減小(ISO 12100:2010,IDT)
GB/T 23821-2009 機械安全 防止上下肢觸及危險區的安全距離(ISO 13857:2008,IDT)
ISO 4254-1:2013 農業機械 安全 第1部分:通用要求(Agricultural machinery-Safety-Part 1:General requirements
ISO/TR 11688-1 聲學 低噪聲機器和設備設計實施建議 第1部分:規劃(Acoustics-Recom-mended practice for the design of low-noise machinery andequipment-Part 1:Planning)
ISO 14120:2015 機械安全防護裝置固定和活動防護裝置的設計和結構的一般要求(Safety ofmachinery-Guards-General requirements for the design and construction offixed and movable guards)
3 術語和定義
GB/T 15706-2012和ISO 4254-1界定的以及下列術語和定義適用于本文件。
ISO和IEC維護術語數據庫,用于下列標準化地址:
——IEC Electropedia:可從 http://www.electropedia.org/獲取;
——ISO在線瀏覽平臺:https://www.iso.org/obp。
3.1
固體肥料撒施機 solid fertilizer distributor
在土壤表面或作物中間施肥但肥料未融入土壤中的機器。
3.2
全幅寬固體肥料撒施機 full width solid fertilizer distributor
一種固體肥料撒施機(3.1),在土壤整個表面撒施肥料,其施肥作業幅寬與機器寬度大致相同。
3.3
固體肥料撒播機 solid fertilizer broadcaster
一種固體肥料撒施機(3.1),在土壤整個表面播撒肥料,其施肥作業幅寬大于機器寬度。
3.4
固體肥料行間撒施機 solid fertilizer line-distributor
一種固體肥料撒施機(3.1),有肥料和無肥料間隔排列,其施肥作業幅寬與機器等寬。
3.5
帶負載進入 access with load
安裝機器,例如:攜帶一袋肥料裝填到料箱中。
注:帶負載進入裝載位置通常不允許三點接觸。
3.6
無負載進入 access without load
安裝機器不需要攜帶物料,由輔助設備裝填料箱,例如,螺旋輸送。
注:無負載裝載位置通常允許三點接觸。
4 安全要求、減少風險和保護措施
4.1 一般要求
固體肥料撒施機應遵守本部分的安全要求和防護措施規定,除本部分另有規定外,安全要求和防護措施應符合ISO 4254-1的規定。
固體肥料撒施機設計應符合GB/T 15706-2012的規定。
4.2 駐停穩定性和手動操作穩定性
4.2.1 一般要求
固體肥料撒施機應符合ISO 4254-1:2013中6.2.1穩定性要求。應按第5章加以核實。另見6.1a)、b)和c)。
4.2.2 安裝手動搬運輥的懸掛式固體肥料撒施機的裝卸
配備手動搬運輥的固體肥料撒施機,操作時應保證機器不傾覆。應按第5章核實。
4.2.3 可調節支撐裝置
固體肥料撒施機配備可調節支撐裝置時,操作人員應不進入機器下方就可調整支撐裝置。應通過檢查核實。
4.3 施肥組件
4.3.1 旋轉可移動施肥組件
旋轉可移動施肥組件應防止與高架輸電線關聯危險,應采取ISO 4254-1:2013中8.2.3 p)和8.3.4規定的措施,見6.1中d)、e)和f)。應通過檢查核實。
4.3.2 撒肥板和振蕩管
4.3.2.1 避免與施肥組件意外接觸
機器設計或防護應避免與前部、后部和側面的施肥組件發生意外接觸[例如:防護欄(罩)或部分部件],該要求不適用于帶有地輪驅動施肥組件的固體肥料撒施機。
應經過檢查核實見6.1中g)、h)、i)、j)、k)和1)。
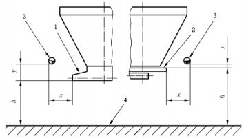
4.3.2.1.1 工作高度(h)小于1500mm的固體肥料撒施機,應按下列要求提供前部、后部和兩側連續防護,符合下列要求:
a)按圖1和表1的規定在施肥組件上方安裝防護欄。
單位為毫米

說明:
1——振蕩管式施肥機撒肥組件;
2——旋轉(離心)式施肥機撒肥組件;
3——防護欄;
4——地面;
h——最大工作高度;
x——撤肥組件端部與防護欄的水平距離;
y——撒肥組件端部與防 護欄的垂直距離。
注:圖中給出的h,僅僅是舉例。
圖1 工作高度小于1500mm的防護(水平不相交)
以上為標準部分內容,如需看標準全文,請到相關授權網站購買標準正版。
-
IG541混合氣體滅火系統
IG541混合氣體滅火系統:IG-541滅火系統采用的IG-541混合氣體滅火劑是由大氣層中的氮氣(N2)、氬氣(Ar)和二氧化碳(CO2)三種氣體分別以52%、40%、8%的比例混合而成的一種滅火劑 -
二氧化碳氣體滅火系統
二氧化碳氣體滅火系統:二氧化碳氣體滅火系統由瓶架、滅火劑瓶組、泄漏檢測裝置、容器閥、金屬軟管、單向閥(滅火劑管)、集流管、安全泄漏裝置、選擇閥、信號反饋裝置、滅火劑輸送管、噴嘴、驅動氣體瓶組、電磁驅動 -
七氟丙烷滅火系統
七氟丙烷(HFC—227ea)滅火系統是一種高效能的滅火設備,其滅火劑HFC—ea是一種無色、無味、低毒性、絕緣性好、無二次污染的氣體,對大氣臭氧層的耗損潛能值(ODP)為零,是鹵代烷1211、130 -
手提式干粉滅火器
手提式干粉滅火器適滅火時,可手提或肩扛滅火器快速奔赴火場,在距燃燒處5米左右,放下滅火器。如在室外,應選擇在上風方向噴射。使用的干粉滅火器若是外掛式儲壓式的,操作者應一手緊握噴槍、另一手提起儲氣瓶上的


