GB 10395.24-2010 農林機械 安全 第24部分:液體肥料施肥車
- 發表時間:2023-01-30
- 來源:共立消防
- 人氣:
1 范圍
GB 10395的本部分規定了設計和制造各類半懸掛式、牽引式和自走式液體肥料施肥車(以下簡稱“施肥車”),包括氣動或機動液體肥料撒施或注射裝置的安全要求和判定方法。本部分還規定了制造廠應提供的安全操作信息的類型。
本部分適用于半懸掛式、牽引式和自走式液體肥料施肥車。
本部分未考慮環境方面因素。
2 規范性引用文件
下列文件中的條款通過GB 10395的本部分的引用而成為本部分的條款。凡是注日期的引用文件,其隨后所有的修改單(不包括勘誤的內容)或修訂版均不適用于本部分,然而,鼓勵根據本部分達成協議的各方研究是否可使用這些文件的最新版本。凡是不注日期的引用文件,其最新版本適用于本部分。
GB 10395.1-2009 農林機械 安全 第1部分:總則(ISO 4254-1:2008,MOD)
GB/T 15706.1 機械安全 基本概念與設計通則 第1部分:基本術語和方法(GB/T 15706.1-2007,ISO 12100-1:2003,IDT)
GB/T 15706.2-2007 機械安全 基本概念與設計通則 第2部分:技術原則(ISO 12100-2:2003,IDT)
GB 23821-2009 機械安全 防止上下肢觸及危險區的安全距離(ISO 13857:2008,IDT)
EN 764 壓力設備 術語和符號 壓力、溫度和體積
3 術語與定義
GB/T 15706.1和GB/T 15706.2確立的以及下列術語和定義適用于本部分。
注:附錄B給出了施肥車及其部件的示例圖。
3.1
液體肥料施肥車 slurry tanker
處理、運輸及撒施液體肥料的機器。
3.2
機動液體肥料施肥車 mechanically powered slurry tanker
罐體灌注和撒施肥料所需能量直接由泵提供的機器。
3.3
氣動液體肥料施肥車 pneumatically powered slurry tanker
罐體灌注和撒施肥料所需能量由產生真空或氣壓的空壓機提供的機器。
3.4
浮動位置 floating position
在自身重量作用下使液體肥料注射裝置處于進入地面的位置。
3.5
重量轉移位置 position with weight transfer
在自身重量和垂直向下力作用下使液體肥料注射裝置處于進入地面的位置。
3.6
灌注臂 filling arm
支撐罐體灌注用管道的擺臂。
4 安全要求和/或措施
4.1 一般要求
設計施肥車時,本部分沒有涉及到的危險應遵循GB/T 15706.1、GB/T 15706.2規定的原則。
除本部分另有規定外,施肥車應符合GB 10395.1和GB 23821-2009中表1、表3、表4或表6的規定。
注:本部分未規定施肥車的動態穩定性。
4.2 各種類型施肥車的要求
4.2.1 人工操縱機構
4.2.1.1 撒施操作的人工操縱機構
在拖拉機或自走式施肥車的駕駛位置上應能起動和停止施肥操作。
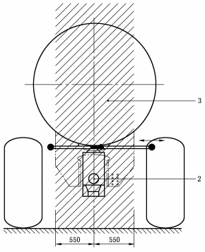
4.2.1.2 空壓機或泵的人工操縱機構
最好在拖拉機或自走式施肥車的駕駛位置上應能操作空壓機或泵的人工操縱機構。
否則,在罐體兩側距動力輸出萬向節傳動軸軸線水平距離不小于550mm,且垂直于動力輸出萬向節傳動軸軸線的位置處應各設置一個在地面可觸及的人工操縱機構(見圖1)。
人工操縱機構不同位置的功能應明確標識。
4.2.2 罐體
4.2.2.1 罐口
罐體應設開口,開口尺寸和位置,應能使無需人員進入罐體就能有效清洗罐體整個內部或清除堵塞。
位于罐體上部、直徑大于400mm的圓形開口或尺寸大于400mm×300mm的矩形開口應設置僅使用工具才能拆除的隔柵。隔柵的孔口不應超過對應罐口的尺寸。
4.2.2.2 罐蓋
罐體上部的罐蓋應通過結構設計或安裝一裝置以防止其意外關閉。
罐蓋為液壓控制時,在拖拉機或自走式施肥車駕駛員位置應能操作人工操縱機構。與拖拉機相連接的液壓軟管接頭應明確標識。
單位為毫米


1——空壓機或泵;
2——動力輸出萬向節傳動軸軸線;
3——不能布置空壓機或泵人工操縱機構的區域。
圖1 人工操縱機構布置范圍
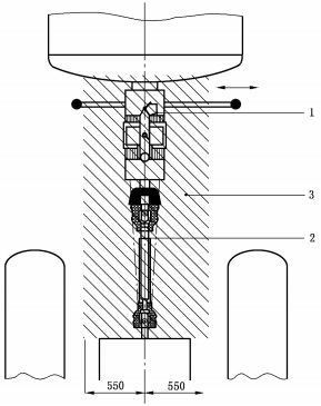
4.2.2.3 阻波隔板
容積不小于6000L的罐體應配備符合表1要求的阻波隔板。該隔板應與機器運動方向垂直,每
塊阻波隔板的表面積至少應為罐體橫截面面積的2/3(示例見圖2)。
以上為標準部分內容,如需看標準全文,請到相關授權網站購買標準正版。
-
IG541混合氣體滅火系統
IG541混合氣體滅火系統:IG-541滅火系統采用的IG-541混合氣體滅火劑是由大氣層中的氮氣(N2)、氬氣(Ar)和二氧化碳(CO2)三種氣體分別以52%、40%、8%的比例混合而成的一種滅火劑 -
二氧化碳氣體滅火系統
二氧化碳氣體滅火系統:二氧化碳氣體滅火系統由瓶架、滅火劑瓶組、泄漏檢測裝置、容器閥、金屬軟管、單向閥(滅火劑管)、集流管、安全泄漏裝置、選擇閥、信號反饋裝置、滅火劑輸送管、噴嘴、驅動氣體瓶組、電磁驅動 -
七氟丙烷滅火系統
七氟丙烷(HFC—227ea)滅火系統是一種高效能的滅火設備,其滅火劑HFC—ea是一種無色、無味、低毒性、絕緣性好、無二次污染的氣體,對大氣臭氧層的耗損潛能值(ODP)為零,是鹵代烷1211、130 -
手提式干粉滅火器
手提式干粉滅火器適滅火時,可手提或肩扛滅火器快速奔赴火場,在距燃燒處5米左右,放下滅火器。如在室外,應選擇在上風方向噴射。使用的干粉滅火器若是外掛式儲壓式的,操作者應一手緊握噴槍、另一手提起儲氣瓶上的


