GB/T 20888.2-2020 林業機械 桿式動力修枝鋸安全要求和試驗 第2部分:背負式動力修枝鋸
- 發表時間:2023-03-14
- 來源:共立消防
- 人氣:
1 范圍
GB/T 20888的本部分規定了具有背負式動力裝置且動力源經傳動軸傳遞動力至切割部件的桿式背負式動力修枝鋸(以下簡稱“背負式修枝鋸”)的設計和結構方面的安全要求及其試驗方法。本部分中切割部件是指鋸鏈及做往復運動或旋轉運動的鋸片。本部分提出了消除或減少使用背負式修枝鋸所產生的各種危害的方法,規定了由生產廠家提供的有關安全操作方面的資料要求。
本部分和GB/T 20888的第1部分的相關章節涉及了與背負式修枝鋸相關的,正常使用時以及合理的、可預見誤用時的所有的嚴重危害,但沒有涉及接觸架空電纜引起的電擊危害(使用說明書中包含的警告和建議除外)和背負式動力裝置引起的全身振動危害。
注1:目前還沒有測量背負式動力裝置引起全身振動的標準試驗程序。
注2:嚴重危害一覽表參見附錄A。
本部分適用于在其實施后生產的產品。
2 規范性引用文件
下列文件對于本文件的應用是必不可少的。凡是注日期的引用文件,僅注日期的版本適用于本文件。凡是不注日期的引用文件,其最新版本(包括所有的修改單)適用于本文件。
GB/T 20888.1-2020 林業機械 桿式動力修枝鋸安全要求和試驗 第1部分:側掛式動力修枝鋸(ISO 11680-1:2011,IDT)
GB/T 23821-2009 機械安全 防止上下肢觸及危險區的安全距離(ISO 13857:2008,IDT)
ISO 4413 液壓傳動 系統及其部件的一般規則和安全要求(Hydraulic fluid power-Generalrules and safety requirements for systems and their components)
ISO 4414 氣壓傳動 系統及其部件的一般規則和安全要求(Pneumatic fluid power-Generalrules and safety requirements for systems and their components)
ISO 12100:2010 機械安全 設計通則 風險評估與風險減?。⊿afety of machinery-Generalprinciples for design-Risk assessment and risk reduction)
3 術語和定義
GB/T 20888.1-2020和ISO 12100界定的以及下列術語和定義適用于本文件。
3.1
器具 appliance
安裝有驅動軸套管、切割附件、鏈輪護罩及手把的裝置。
3.2
整機 machine
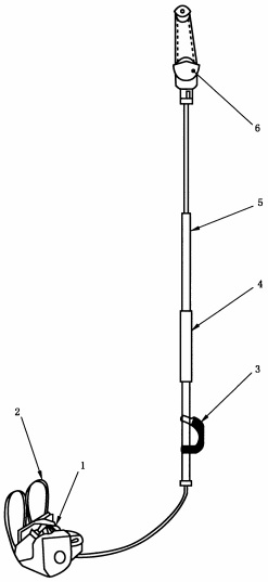
包括動力源和器具的桿式動力修枝鋸,用于切割樹干上枝椏的機器。
注:示例見圖1。

說明:
1——動力裝置;
2——背帶;
3——后手把;
4——前手把;
5——軸套管;
6——切割附件。
圖1 帶有鋸鏈切割附件的背負式修枝鋸示例
4 安全要求和/或保護措施
4.1 總則
背負式修枝鋸應遵守本章中的安全要求和防護措施。另外,背負式修枝鋸的設計應滿足ISO 12100中給出的本部分未涉及的相關非嚴重危害的準則。
背負式修枝鋸應符合GB/T 20888.1-2020中第4章除4.3外的所有要求。
安全使用背負式修枝鋸取決于與使用個人防護設備(如手套、護腿、工作靴及眼睛和耳朵的防護用品等)相關的安全環境,以及安全工作程序(見GB/T 20888.1-2020中的5.1)。
除非本部分中另行規定,否則安全距離應滿足GB/T 23821-2009中4.2.4.1與4.2.4.3的要求。
4.2 手把
4.2.1 要求
背負式修枝鋸應有手把,手把可為軸套管的一部分,且應保證操作者握持手把能對背負式動力裝置進行操作和運輸。
手把的設計應能滿足以下要求:
——確保操作者戴上防護手套時能完全握住手把;
——手把的形狀和表面能確保握持的可靠性;
——長度不小于100mm,弧形或環形手把握持區域長度可由直線或曲率半徑大于100mm的多段曲線段組成,在握持區域表面的一端或兩端的曲率半徑不應小于10mm。
4.2.2 檢驗
通過觀察、測量和功能性試驗檢驗手把的設計。
4.3 背帶
4.3.1 要求
背帶應具有快速釋放機構,快速釋放機構位于動力源和背帶之間,或位于背帶和操作者之間。無論背帶的設計還是快速釋放結構的使用,都應確保在發生緊急事故時能使人與動力源迅速分離。
若安裝有快速釋放機構,則應保證即使在負載狀態下,也能用一個手將其打開并且釋放動力源。
4.3.2 檢驗
通過觀察來檢驗背帶的功能及其調整。在操作者背負背帶并在吊掛點懸掛3倍于背負式修枝鋸凈重量的力的情況下對快速釋放機構進行功能測試。
4.4 液壓和氣壓管道及軟管
4.4.1 要求
液壓系統應符合ISO 4413的安全要求,氣壓系統應符合ISO4414的安全要求。
內部壓強超過500kPa的液壓和氣壓管道及軟管應進行防護,以確保操作背負式修枝鋸時萬一管道破裂,液體不會直接射向操作者。
4.4.2 檢驗
目視檢查管道和軟管的防護。
5 使用信息
見ISO 12100:2010中的6.4。
以上為標準部分內容,如需看標準全文,請到相關授權網站購買標準正版。
-
IG541混合氣體滅火系統
IG541混合氣體滅火系統:IG-541滅火系統采用的IG-541混合氣體滅火劑是由大氣層中的氮氣(N2)、氬氣(Ar)和二氧化碳(CO2)三種氣體分別以52%、40%、8%的比例混合而成的一種滅火劑 -
二氧化碳氣體滅火系統
二氧化碳氣體滅火系統:二氧化碳氣體滅火系統由瓶架、滅火劑瓶組、泄漏檢測裝置、容器閥、金屬軟管、單向閥(滅火劑管)、集流管、安全泄漏裝置、選擇閥、信號反饋裝置、滅火劑輸送管、噴嘴、驅動氣體瓶組、電磁驅動 -
七氟丙烷滅火系統
七氟丙烷(HFC—227ea)滅火系統是一種高效能的滅火設備,其滅火劑HFC—ea是一種無色、無味、低毒性、絕緣性好、無二次污染的氣體,對大氣臭氧層的耗損潛能值(ODP)為零,是鹵代烷1211、130 -
手提式干粉滅火器
手提式干粉滅火器適滅火時,可手提或肩扛滅火器快速奔赴火場,在距燃燒處5米左右,放下滅火器。如在室外,應選擇在上風方向噴射。使用的干粉滅火器若是外掛式儲壓式的,操作者應一手緊握噴槍、另一手提起儲氣瓶上的


