GB/T 37474-2019 汽車安全氣囊系統誤作用試驗的方法和要求
- 發表時間:2023-03-24
- 來源:共立消防
- 人氣:
1 范圍
本標準規定了汽車安全氣囊系統誤作用試驗方法和要求。
本標準適用于安裝了安全氣囊系統且在行車質量狀態下最小離地間隙大于100mm的M1類汽車。
2 規范性引用文件
下列文件對于本文件的應用是必不可少的。凡是注日期的引用文件,僅注日期的版本適用于本文件。凡是不注日期的引用文件,其最新版本(包括所有的修改單)適用于本文件。
GB/T 19949.1 道路車輛 安全氣囊部件 第1部分:術語
JC/T 899 混凝土路緣石
3 術語和定義
GB/T 19949.1界定的以及下列術語和定義適用于本文件。
3.1
安全氣囊系統 airbag system
由一個或多個傳感器、安全氣囊控制器和安全氣囊模塊組成的系統。
3.2
安全氣囊控制器 airbag control unit
控制安全氣囊系統的車載控制單元。
3.3
展開 deployment
對氣袋進行充氣。
3.4
誤作用 abuse
非乘員保護作用而發生的安全氣囊展開。
3.5
行車質量 mass in running order
整車整備質量加75kg。
3.6
門蓋系統 door and lid or bonnet
由前后車門、發動機罩、后行李箱蓋等組成的系統。
4 要求
在完成5.2、5.3、5.4規定的各項試驗后,車輛所裝備的安全氣囊均不應展開。
5 試驗方法
5.1 車輛準備
5.1.1 試驗車輛應能反映出該系列產品的特征,應包括正常安裝的所有裝備,并應處于能夠正常運行狀態。
5.1.2 每次試驗前,確保試驗車輛的傳動系統、懸架系統(包括輪胎)、轉向和制動系統等處于汽車制造商規定的狀態,汽車發動機處于啟動狀態或使點火開關處于“ON”的位置。
5.1.3 試驗車輛的質量應是行車質量。
5.2 靜態試驗
5.2.1 門蓋試驗
車門玻璃處于最下面的位置,不借助工具,以鎖體位置不小于4m/s的速度(車門關閉瞬間的速度)分別逐一關閉車輛各個門蓋系統。試驗時,其他非試驗車輛門蓋系統均處于關閉狀態。
由于門蓋系統的特殊設計導致在關門瞬間,鎖體的速度達不到4m/s的,試驗時則以車輛能達到的最高關門速度進行相應門蓋系統的關閉試驗。
5.2.2 移動前排外側座椅試驗
試驗人員坐在前排外側座椅上,前后移動座椅(若是電動座椅,則以座椅設計速度移動)。向前是從座椅移動行程的最后端移至最前端,向后是從座椅移動行程的最前端移至最后端。
5.2.3 敲擊試驗
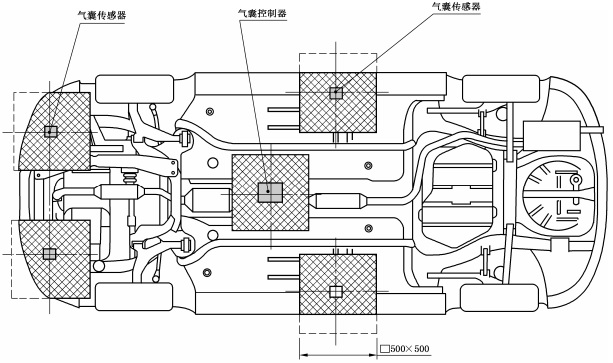
保持車身與行駛狀態一致,在氣囊傳感器以及安全氣囊控制器所對應車輛底部確定500mmx500 mm的投影區域(如圖1所示)內,在每個投影區域內任選5個點,試驗人員使用1kg的橡膠錘在垂直于選定點的方向,每個點連續敲擊不少于3次,每次間隔時間不大于5s,每次敲擊載荷不小于20 N。
單位為毫米

圖1 車輛底部敲擊試驗區域示意圖
5.2.4 籃球撞擊試驗
試驗車輛靜止停放在水平地面上,車門玻璃處于最下面的位置,用標準籃球(質量0.616kg~0.65kg圓周長750mm~780mm,相對氣壓60 kPa )以60km/ 1km/h的速度垂直撞擊試驗車輛,球心與側碰撞傳感器中心位于同一條車輛縱向中垂面的法線上,偏差為半徑為25mm的圓周內(如圖2所示)。若車身結構對稱,僅進行單側試驗。
單位為毫米

圖2 撞擊試驗位置示意圖
以上為標準部分內容,如需看標準全文,請到相關授權網站購買標準正版。
-
IG541混合氣體滅火系統
IG541混合氣體滅火系統:IG-541滅火系統采用的IG-541混合氣體滅火劑是由大氣層中的氮氣(N2)、氬氣(Ar)和二氧化碳(CO2)三種氣體分別以52%、40%、8%的比例混合而成的一種滅火劑 -
二氧化碳氣體滅火系統
二氧化碳氣體滅火系統:二氧化碳氣體滅火系統由瓶架、滅火劑瓶組、泄漏檢測裝置、容器閥、金屬軟管、單向閥(滅火劑管)、集流管、安全泄漏裝置、選擇閥、信號反饋裝置、滅火劑輸送管、噴嘴、驅動氣體瓶組、電磁驅動 -
七氟丙烷滅火系統
七氟丙烷(HFC—227ea)滅火系統是一種高效能的滅火設備,其滅火劑HFC—ea是一種無色、無味、低毒性、絕緣性好、無二次污染的氣體,對大氣臭氧層的耗損潛能值(ODP)為零,是鹵代烷1211、130 -
手提式干粉滅火器
手提式干粉滅火器適滅火時,可手提或肩扛滅火器快速奔赴火場,在距燃燒處5米左右,放下滅火器。如在室外,應選擇在上風方向噴射。使用的干粉滅火器若是外掛式儲壓式的,操作者應一手緊握噴槍、另一手提起儲氣瓶上的


