GB/T 17651.1-2021 電纜或光纜在特定條件下燃燒的煙密度測定 第1部分:試驗裝置
- 發表時間:2022-11-20
- 來源:共立消防
- 人氣:
1 范圍
本文件描述了測定電纜或光纜在特定條件下燃燒(例如一些電纜或光纜被水平燃燒時)釋出的煙所使用的試驗裝置的細節。在有焰燃燒或無焰燃燒條件下,透光率(I,)能用來作為比較不同電纜或判斷是否符合特定要求的手段。
注:本文件中“電纜”是指用來傳輸電能或信號的所有絕緣金屬導體電纜。
2 規范性引用文件
下列文件中的內容通過文中的規范性引用而構成本文件必不可少的條款。其中,注日期的引用文件,僅該日期對應的版本適用于本文件;不注日期的引用文件,其最新版本(包括所有的修改單)適用于本文件。
IEC 60695-4 電工電子產品著火危險試驗 第4部分:著火試驗術語(Fire hazard testing-Part 4:Terminology concerning fire tests for electrotechnical products)
ISO/IEC 13943:2000 消防安全 詞匯(Fire safety-Vocabulary)
3 術語和定義
IEC 60695-4和ISO/IEC 13943:2000界定的術語和定義適用于本文件。
4 試驗箱
試驗箱應包括一個用合適材料固定在角鋼支架上而構成的立方體,其內部尺寸應為3000mm±30mm。立方體的一面應有一扇帶有玻璃觀察窗的門。兩側相對的墻上應各設一扇透明密封窗(最小尺寸為100mmx100mm)以讓水平光測裝置的光束透過。這些密封窗的中心距離地面的高度應為2 150mm±100mm(見圖1)。
為了穿電纜或光纜等原因,以及使試驗箱內部處于大氣壓下,試驗箱的墻壁在地平面上應開若干通氣孔(通氣孔距離試驗箱內地板不超過100mm)。
任何通氣孔都不應直接在火源后面或者在同一面墻上。試驗期間應最少打開兩個通氣孔而且打開的通氣孔的總面積應為50cm2±10cm2。
注1:兩個通氣孔,每個通氣孔面積為25cm2±5cm2,兩個通氣孔的位置在相對的兩面墻上,一個在光源下方,一個在接受器下方是較合適的。
試驗箱外面的環境溫度應為20℃±10℃,而且試驗箱不應直接暴露在陽光下或極端氣候條件下。
注2:通常每次試驗后通過帶有閥門的管道盡可能將煙從試驗箱內排出,試驗時閥門宜關閉,管道可以裝設一只排風扇以提高排煙速度,宜打開試驗箱的門以加速排煙過程。
擋風屏寬1500mm±50mm,高1000mm±50mm,應在試驗箱內的位置如圖1所示。擋風屏應緊靠后墻(最大間隙10mm)且與側面墻距離為750mm±25mm,擋風屏應彎曲與試驗箱的中心線相交,交點與后墻相交處距離為1400mm±25mm。
單位為毫米

標引序號說明:
1——光源;
2——擋風屏(高1000±50);
3——風扇鼓風的方向;
4——電纜支架;
5——酒精盤;
6——光程高度2150±100;
7——風扇(風量7m3/min~15m3/min);
8——光電池;
9——門。
圖1 試驗箱平面圖
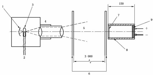
5 光測裝置
5.1 光測裝置如圖2所示。光源和接受器應放在試驗箱兩個相對的墻上的密封窗外面的居中位置,如圖1和圖2所示。光束應通過兩個墻上的玻璃窗穿過試驗箱。
5.2 光源應是一只具有鎢絲和透明石英燈泡的鹵素燈,具有下述特性:
標稱功率:100 W;
標稱電壓:直流12V;
標稱光通量:2 000 lm~~3 000 lm;
標稱色溫:2 800 K~3 200 K。
燈泡應由電壓12.0 V±0.1 V(平均值)供電。試驗期間的電壓應穩定在±0.01 V的范圍內[見A.2c)的補充說明]。燈泡應安裝在一個罩子里面,并由鏡頭系統來調節光束,使在對面墻壁的內表面上產生一個直徑為1.5m±0.1m的被均勻照明的圓面。
5.3 接受器光電池應為硒光電池或硅光電池,其光譜響應與國際照明委員會(CIE)的測光儀(相當于人眼)相匹配。光電池應安裝在長度為150mm±10mm的管子一端,另一端為防塵窗。管子內表面應為無光澤黑色,以防反射。光電池應與電位記錄儀相連以產生線性輸出。光電池應加負載電阻使其運行在線性范圍內,記錄儀的輸入阻抗至少應比光電池的負載電阻大10倍,光電池的負載電阻不應超過100Ω。
單位為毫米

標引序號說明:
1——反射鏡;
2——供電電壓12.0 V±0.1 V(穩壓范圍±0.01V);
3——石英/鹵素燈泡;
4——鏡頭系統;
5——光束;
6——試驗箱密封窗;
7——防塵窗;
8——內表面無光澤管子;
9——光電池。
光源和光電池應與試驗箱的墻壁分離開。
從光源發射到對面墻上的光錐直徑約為1.5m。
圖2 光測裝置
5.4 光測裝置在空白測試之前應通電。當達到穩定后,應調節記錄儀的零刻度和滿刻度讀數與檢測器上的透光率為0%(無光線透過)和100%相對應。
注1:光電池的性能宜定期進行驗證,例如在系列試驗開始之前進行驗證。方法是將標準中性密度濾光片置于光束中,重要的是將這些濾光片覆蓋住光電池的整個光線進口,此時用光電池測得的透光率給出的吸收系數Am值(定義見10.5)在濾光片校準值±5%的范圍內,同時也宜用濾光片來鑒定檢測器的線性響應,在使用范圍內,它宜與透光率成正比。
注2:大部分中性密度濾光片是根據吸光度的吸收系數指定的,吸光度與10.5中吸收系數Am定義相同,可用于轉換測量的透光率。
以上為標準部分內容,如需看標準全文,請到相關授權網站購買標準正版。
-
IG541混合氣體滅火系統
IG541混合氣體滅火系統:IG-541滅火系統采用的IG-541混合氣體滅火劑是由大氣層中的氮氣(N2)、氬氣(Ar)和二氧化碳(CO2)三種氣體分別以52%、40%、8%的比例混合而成的一種滅火劑 -
二氧化碳氣體滅火系統
二氧化碳氣體滅火系統:二氧化碳氣體滅火系統由瓶架、滅火劑瓶組、泄漏檢測裝置、容器閥、金屬軟管、單向閥(滅火劑管)、集流管、安全泄漏裝置、選擇閥、信號反饋裝置、滅火劑輸送管、噴嘴、驅動氣體瓶組、電磁驅動 -
七氟丙烷滅火系統
七氟丙烷(HFC—227ea)滅火系統是一種高效能的滅火設備,其滅火劑HFC—ea是一種無色、無味、低毒性、絕緣性好、無二次污染的氣體,對大氣臭氧層的耗損潛能值(ODP)為零,是鹵代烷1211、130 -
手提式干粉滅火器
手提式干粉滅火器適滅火時,可手提或肩扛滅火器快速奔赴火場,在距燃燒處5米左右,放下滅火器。如在室外,應選擇在上風方向噴射。使用的干粉滅火器若是外掛式儲壓式的,操作者應一手緊握噴槍、另一手提起儲氣瓶上的


