GB/T 5169.46-2020 電工電子產品著火危險試驗 第46部分:試驗火焰 非接觸火焰源中起燃時特征熱通量的測定
- 發表時間:2022-11-23
- 來源:共立消防
- 人氣:
1 范圍
GB/T 5169的本部分給出了用于測定電工電子產品及其組件所用材料在非接觸火焰源中起燃時的特征熱通量(CHFI)的試驗方法,給出了起燃時間和入射熱通量之間的關系。本試驗方法中所用試樣取自成品或組件。
本部分旨在供產品委員會根據IEC Guide 104和ISO/IEC Guide 51中規定的原則編寫標準。
產品委員會的任務之一就是在編寫自己的標準時,凡適用之處都要使用本系列標準。除非有關標準特別提及或列出不適用,否則本部分的要求、試驗方法或試驗條件都適用。
2 規范性引用文件
下列文件對于本文件的應用是必不可少的。凡是注日期的引用文件,僅注日期的版本適用于本文件。凡是不注日期的引用文件,其最新版本(包括所有的修改單)適用于本文件。
ISO 291 塑料 試樣狀態調節和試驗的標準環境(Plastics-Standard atmospheres for conditioning and testing)
ISO 293 塑料 熱塑性塑料材料試樣的壓塑(Plastics-Compression moulding of test specimens of thermoplastic materials)
ISO 294(所有部分)塑料 熱塑性塑料材料注塑試樣的制備(Plastics-Injection moulding oftest specimens of thermoplastic materials)
ISO 295 塑料 熱固性塑料試樣的壓塑(Plastics-Compression moulding of test specimens of thermosetting materials)
ISO 13943:2008 消防安全 詞匯(Fire safety-Vocabulary)
ISO 14934-4:2014 著火試驗 熱通量計的校準 第4部分:著火試驗中熱通量計的使用導則(Fire tests-Calibration of heat flux meters-Part 4:Guidance on the use of heat flux meters in fire tests)
ISO/IEC Guide 51:1999 安全方面 標準中涉及安全內容的導則(Safety aspects-Guidelines fortheir inclusion in standards)
IEC 60695-11-4 著火危險試驗 第11-4部分:試驗火焰 50W 火焰 裝置和確認試驗方法(Fire hazard testing-Part 11-4:Test flames-50W flame-Apparatus and confirmational test meth-od)
IEC Guide 104 安全出版物的編寫及基礎安全出版物和多專業公用安全出版物的應用導則(Thepreparation of safety publications and the use of basic safety publications and group safety publica-tions)
3 術語和定義
ISO 13943:2008 界定的以及下列術語和定義適用于本文件。為了便于使用,以下重復列出了ISO13943:2008中的某些術語和定義。
3.1
平均起燃時間 average ignition time
tig
給定熱通量下測量三次起燃時間的算術平均值。
3.2
起燃特征熱通量 characteristic heat flux for ignition;CHFI
平均起燃時間大于120s,且為5kW/m2的倍數的最大入射熱通量。
3.3
無通風環境 draught-free environment
試驗結果不受局部氣流顯著影響的空間環境。
注:定性示例,如:能使蠟燭火焰保持基本穩定的空間環境。定量示例,如:小規模著火試驗中,有時指定的最大的空氣流速0.1m/s或0.2m/s。
[ISO 13943:2008,定義4.70]
3.4
熱通量 heat flux
單位面積單位時間釋放、傳輸或接受的熱量。
注:其代表性單位為瓦特每平方米(W/m2)。
[ISO 13943:2008,定義4.173]
3.5
起燃 ignition
引起至少持續5s的有焰燃燒。
注:法語中的“起燃”一詞有著完全不同的含義(指機體燃燒的狀態)。
3.6
入射熱通量 incident heat flux
試樣表面所接收的熱通量。
[IEC 60695-4:2012,定義3.2.15]
4 試驗原理
使用5.3和5.4中描述的裝置測量入射熱通量。通過改變燃燒器管頂部和試樣下表面之間的距離以及改變燃燒器氣體流量來控制入射的熱通量值(參見附錄A)。根據入射熱通量來測量試樣起燃所需的時間。在不同的入射熱通量值下進行試驗,直到t大于120s時的最大熱通量,將其定義為起燃特征熱通量(CHFI)。試驗的入射熱通量值選取在30kW/m2~75kW/m2,且為5kW/m2的倍數。
5 儀器
5.1 試驗布置
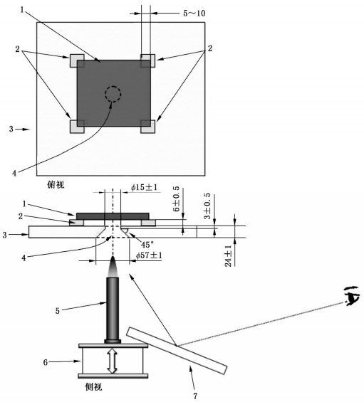
試樣和燃燒器的布置和位置如圖1所示。試樣和屏蔽板應水平安裝。燃燒器管應垂直安裝。試樣的中心線、燃燒器管、熱通量計的傳感器和屏蔽板中的錐形孔均應垂直對齊。熱通量計的傳感器應水平放置在屏蔽板的上表面6mm處,其感測表面朝下。
單位為毫米

說明:
1——試樣;
2——試樣支架;
3——屏蔽板;
4——錐形孔(頂部直徑為15mm);
5——燃燒器管和試驗火焰(內徑為9.5mm);
6——燃燒器支架(可垂直調節);
7——鏡子。
圖1 試樣和燃燒器的布置和位置
5.2 燃燒器和試驗火焰
實驗室燃燒器應符合IEC 60695-11-4的要求。為獲得試驗所需的熱通量值,火焰尺寸和氣體流量將與IEC 60695-11-4中規定的不同。每次試驗所用火焰應在整個試驗過程中保持一致。
注:ISO 10093將燃燒器描述為起燃源P/PF2(50 W)。
5.3 熱通量計
熱通量計應采用水冷型(見ISO 14934-4:2014),用于確定施加到試樣上的入射熱通量。
在測量入射熱通量時,將熱通量計放置在試樣板的中心,熱通量計不應帶有任何帶傳感器的光學濾波器。
以上為標準部分內容,如需看標準全文,請到相關授權網站購買標準正版。
-
IG541混合氣體滅火系統
IG541混合氣體滅火系統:IG-541滅火系統采用的IG-541混合氣體滅火劑是由大氣層中的氮氣(N2)、氬氣(Ar)和二氧化碳(CO2)三種氣體分別以52%、40%、8%的比例混合而成的一種滅火劑 -
二氧化碳氣體滅火系統
二氧化碳氣體滅火系統:二氧化碳氣體滅火系統由瓶架、滅火劑瓶組、泄漏檢測裝置、容器閥、金屬軟管、單向閥(滅火劑管)、集流管、安全泄漏裝置、選擇閥、信號反饋裝置、滅火劑輸送管、噴嘴、驅動氣體瓶組、電磁驅動 -
七氟丙烷滅火系統
七氟丙烷(HFC—227ea)滅火系統是一種高效能的滅火設備,其滅火劑HFC—ea是一種無色、無味、低毒性、絕緣性好、無二次污染的氣體,對大氣臭氧層的耗損潛能值(ODP)為零,是鹵代烷1211、130 -
手提式干粉滅火器
手提式干粉滅火器適滅火時,可手提或肩扛滅火器快速奔赴火場,在距燃燒處5米左右,放下滅火器。如在室外,應選擇在上風方向噴射。使用的干粉滅火器若是外掛式儲壓式的,操作者應一手緊握噴槍、另一手提起儲氣瓶上的


