GB/T 28542-2012 道路車輛應急起動電纜
- 發表時間:2023-01-04
- 來源:共立消防
- 人氣:
1 范圍
本標準規定了道路車輛應急起動電纜(以下簡稱起動電纜)的術語和定義、要求、試驗方法、檢驗規則等。
本標準適用于標稱電壓為12V或24V、起動電流不超過750A的起動電纜。
2 規范性引用文件
下列文件對于本文件的應用是必不可少的。凡是注日期的引用文件,僅注日期的版本適用于本文件。凡是不注日期的引用文件,其最新版本(包括所有的修改單)適用于本文件。
GB/T 191 包裝儲運圖示標志
GB/T 1220-2007 不銹鋼棒
GB/T 3953 電工圓銅線
GB/T 4909.2-2009 裸電線試驗方法 第2部分:尺寸測量
GB/T 25085-2010 道路車輛60V和600V單芯電線
SJ/T 11223 銅包鋁線
3 術語和定義
下列術語和定義適用于本文件。
3.1
額定電流 rated current
起動電纜在特定條件下傳輸電流的能力。
3.2
電壓降 voltage drop
起動電纜被連接到兩個蓄電池電極之間并傳輸電流時,在兩個蓄電池的正電極之間或負電極之間存在的電位差。
4 要求
4.1 一般要求
4.1.1 起動電纜應符合本標準的規定,并應按經規定程序批準的圖樣及設計文件制造。
4.1.2 起動電纜的規格用額定電流表示,見表1。
表1 起動電纜的規格和基本參數
起動電纜的規格 (額定電流)/A | 起動電纜 總長度/mm | 電纜導體截 面積/mm2 | 電壓降/V | 車輛發動機氣缸工作容量/L | |
汽油發動機 | 柴油發動機 | ||||
80 | ≥2500 | ≥3 | ≤1.6 | ≤1.0 | 不適用 |
100 | ≥2 500 | ≥4 | ≤1.6 | ≤1.2 | 不適用 |
150 | ≥2 800 | ≥6 | ≤1.6 | ≤1.6 | 不適用 |
200 | ≥2 800 | ≥10 | ≤1.6 | ≤2.0 | 不適用 |
220 | ≥3000 | ≥16 | ≤1.6 | ≤2.5 | ≤2.0 |
350 | ≥3500 | ≥25 | ≤1.6 | ≤5.5 | ≤3.0 |
480 | ≥4 000 | ≥35 | ≤1.6 | ≤7.0 | ≤4.0 |
750 | ≥4500 | ≥50 | ≤1.8 | ≤12.0 | ≤9.0 |
4.1.3 起動電纜包括普通溫度型(-25℃~+70℃)和特低溫度型(-40℃~+70℃)。
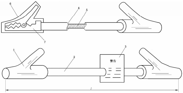
4.1.4 起動電纜由兩條電纜及附件組成,每一條電纜的兩端各連接一個蓄電池夾,其中一條電纜上應裝有一個不可拆卸的警示標簽,見圖1。
其中:
1——蓄電池夾;
2——電纜;
3——警示標簽;
4——電纜絕緣層;
5——電纜導體;
6——蓄電池夾的絕緣層;
7——蓄電池夾(主件);
l——總長度。
圖1 起動電纜結構示意圖
4.1.5 起動電纜的兩條電纜上應標識下列內容:
a) 制造商名稱或商標。
b) 適用溫度范圍。
c)額定電流。
4.1.6 起動電纜的兩條電纜的導體應由符合GB/T 3953規定的軟銅線或由符合SJ/T 11223規定的軟銅包鋁線絞合而成。
4.1.7 起動電纜的總長度(l)應符合表1的規定。
4.2 起動電纜極性
起動電纜的一條電纜及其兩端的蓄電池夾的顏色為黑色,另一條電纜及其兩端的蓄電池夾的顏色為紅色或明顯區別于黑色的其他顏色(除了白色之外)。
4.3 電纜
4.3.1 電纜導體的截面積應符合表1的規定。
4.3.2 電纜外徑和電纜絕緣層的厚度應符合表2的規定。
表2 電纜外徑和電纜絕緣厚度
導體截面積范圍S/mm2 | 銅包鋁軟線絞合導體 | 銅絲絞合導體 | ||
電纜絕緣厚度(最?。?mm | 電纜外徑(最大)/mm | 電纜絕緣厚度 | 電纜外徑 | |
3≤S≤16 | 0.80 | 8.30 | 見GB/T 25085-2010中的表4 | |
16<S≤25 | 1.04 | 10.4 | ||
25<S≤35 | 1.04 | 12.0 | ||
35<S≤50 | 1.20 | 14.0 | ||
50<S≤70 | 1.20 | 16.0 | ||
70<S≤95 | 1.28 | 19.0 | ||
4.3.3 電纜絕緣層在70℃溫度下應具有足夠的抗機械壓力能力。
4.3.4 電纜絕緣層在-25℃(或-40℃)溫度下應具有足夠的抗卷繞能力。
4.3.5 電纜絕緣層在-25℃(或-40℃)~70℃溫度范圍內應具有足夠的抗熱漂移(高溫短期老化)能力。
4.3.6 電纜絕緣層經有限接觸汽油、柴油、機油后,應無破裂或絕緣失效,并且電纜外徑的變化率應不大于15%。
4.3.7 電纜絕緣層經有限接觸火焰后,應無延燃現象發生。
4.4 蓄電池夾
4.4.1 蓄電池夾的張開力應符合表3的規定。蓄電池夾的夾持力應不小于2倍的張開力。
表3 蓄電池夾的張開力
起動電纜的規格(額定電流)/A | 蓄電池夾的張開力/N | ||
蓄電池電極直徑10mm | 蓄電池電極直徑20mm | 蓄電池電極直徑30mm | |
80 | 30±6 | 50±10 | 70±10 |
100、150、200、220 | 35±7 | 55±11 | 75±15 |
以上為標準部分內容,如需看標準全文,請到相關授權網站購買標準正版。
-
IG541混合氣體滅火系統
IG541混合氣體滅火系統:IG-541滅火系統采用的IG-541混合氣體滅火劑是由大氣層中的氮氣(N2)、氬氣(Ar)和二氧化碳(CO2)三種氣體分別以52%、40%、8%的比例混合而成的一種滅火劑 -
二氧化碳氣體滅火系統
二氧化碳氣體滅火系統:二氧化碳氣體滅火系統由瓶架、滅火劑瓶組、泄漏檢測裝置、容器閥、金屬軟管、單向閥(滅火劑管)、集流管、安全泄漏裝置、選擇閥、信號反饋裝置、滅火劑輸送管、噴嘴、驅動氣體瓶組、電磁驅動 -
七氟丙烷滅火系統
七氟丙烷(HFC—227ea)滅火系統是一種高效能的滅火設備,其滅火劑HFC—ea是一種無色、無味、低毒性、絕緣性好、無二次污染的氣體,對大氣臭氧層的耗損潛能值(ODP)為零,是鹵代烷1211、130 -
手提式干粉滅火器
手提式干粉滅火器適滅火時,可手提或肩扛滅火器快速奔赴火場,在距燃燒處5米左右,放下滅火器。如在室外,應選擇在上風方向噴射。使用的干粉滅火器若是外掛式儲壓式的,操作者應一手緊握噴槍、另一手提起儲氣瓶上的


